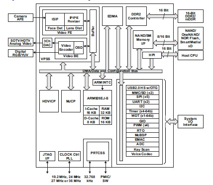
Product Summary
The TMS320DM368 is a Digital Media System-on-Chip. It is capable of achieving HD video processing at 1080p 30fps H-264 and is completely pin-to-pin compatible with the DM365 processors, using the same ARM926EJ-S core running at 432 MHz. The TMS320DM368 supports production-qualified H-264BP/MP/HP, MPEG-4, MPEG-2, MJPEG and VC1/WMV9 codecs providing customers with the flexibility to select the right video codec for their application.
Parametrics
TMS320DM368 absolute maximum ratings: (1)Supply voltage ranges: -0.3 V to 2.45 V; (2)Input voltage ranges: -0.5 V to 3.8 V; (3)Operating case temperature ranges: -40℃ to 85 ℃; (4)Storage temperature ranges Tstg: -55℃ to 150℃.
Features
TMS320DM368 features: (1)High-Performance Digital Media System-on-Chip (DMSoC); (2)432-MHz ARM926EJ-S Clock Rate; (3)Two Video Image Co-processors(HDVICP, MJCP) Engines MAC; (4)Supports a Range of Encode, Decode, and Video Quality Operations ; (5)Video Processing Subsystem; (6)Capable of 1080p 30fps H.264 video processing; (7)Peripherals include EMAC, USB 2.0 OTG, DDR2/NAND, 5 SPIs, 2 MMC/SD/SDIO, Key Scan; (8)8 Different Boot Modes and Configurable Power-Saving Modes; (9)Pin-to-pin and software compatible with DM365; (10)Extended temperature available; (11)3.3-V and 1.8-V I/O, 1.35-V Core; (12)338-Pin Ball Grid Array at 65nm Process Technology.
Diagrams

| Image | Part No | Mfg | Description | ![]() |
Pricing (USD) |
Quantity | ||||||||||||
|---|---|---|---|---|---|---|---|---|---|---|---|---|---|---|---|---|---|---|
![]() |
![]() TMS320DM368ZCE |
![]() Texas Instruments |
![]() Digital Signal Processors & Controllers (DSP, DSC) Digital Media SOC |
![]() Data Sheet |
![]()
|
|
||||||||||||
![]() |
![]() TMS320DM368ZCE48 |
![]() Texas Instruments |
![]() Digital Signal Processors & Controllers (DSP, DSC) Dig Media System-on- Chip |
![]() Data Sheet |
![]()
|
|
||||||||||||
![]() |
![]() TMS320DM368ZCEDF |
![]() Texas Instruments |
![]() Digital Signal Processors & Controllers (DSP, DSC) Dig Media System-on- Chip |
![]() Data Sheet |
![]()
|
|
||||||||||||
![]() |
![]() TMS320DM368ZCED48F |
![]() Texas Instruments |
![]() Digital Signal Processors & Controllers (DSP, DSC) Dig Media SOC |
![]() Data Sheet |
![]()
|
|
||||||||||||
![]() |
![]() TMS320DM368ZCEF |
![]() Texas Instruments |
![]() Digital Signal Processors & Controllers (DSP, DSC) Dig Media SOC |
![]() Data Sheet |
![]()
|
|
||||||||||||
![]() |
![]() TMS320DM368ZCED |
![]() Texas Instruments |
![]() Digital Signal Processors & Controllers (DSP, DSC) Digital Media SOC |
![]() Data Sheet |
![]()
|
|
||||||||||||
(Hong Kong)









