Product Summary
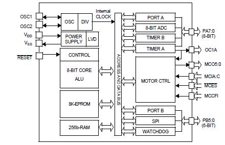
The ST72T141K2M6 is an 8-bit MCU with electric-motor control. The ST72T141K2M6 is a member of the ST7 microcontroller family designed specifically for motor control applications and including A/D conversion and SPI interface capabilities. The device includes an on-chip Moter Controller peripheral for control of electric brushless moters with or without sensors. An example application, for 6-step control of a Permanent Magnet DC motor. The ST72T141K2M6 is based on a common industry-standard 8-bit core, featuring an enhanced instruction set.
Parametrics
ST72T141K2M6 absolute maximum ratings: (1)VDD - VSS, Supply voltage: 6.5 V; (2)VIN, Input voltage on true open drain pin: VSS -0.3 to 6.5 V; Input voltage on any other pin: VSS -0.3 to VDD + 0.3; (3)VOUT, Output voltage: VSS -0.3 to VDD + 0.3 V; (4)ESD, ESD susceptibility: 2000 V; (5)IVDD_i, Total current into VDD_i (source): 80mA; (6)IVSS_i, Total current out of VSS_i (sink): 80mA.
Features
ST72T141K2M6 features: (1)Memories, 8K Program memory (ROM/OTP/EPROM); 256 Bytes RAM; (2)Clock, Reset and Supply Management, Enhanced reset system; Low voltage supply supervisor; 3 Power saving modes; (3)14 I/O Ports, 14 multifunctional bidirectional I/O lines with: External interrupt capability (2 vectors), 13 alternate; (4)function lines, 3 high sink outputs; (5)Motor Control peripheral, 6 PWM output channels; Emergency pin to force outputs to HiZ state; 3 analog inputs for rotor position detection with no need for additional sensors; Comparator for current limitation; (6)3 Timers, Two 16-bit timers with: 2 input captures, 2 output; (7)compares, external clock input, PWM and Pulse generator modes; Watchdog timer for system integrity; (8)Communications Interface, SPI synchronous serial interface; (9)Analog Peripheral, 8-bit ADC with 8 input pins; (10)Instruction Set, 8-bit data manipulation; 63 basic instructions; 17 main addressing modes; 8 x 8 unsigned multiply instruction; True bit manipulation; (11)Development Tools, Full hardware/software development package.
Diagrams

| Image | Part No | Mfg | Description | ![]() |
Pricing (USD) |
Quantity | ||||
|---|---|---|---|---|---|---|---|---|---|---|
![]() |
![]() ST72T141K2M6 |
![]() STMicroelectronics |
![]() 8-bit Microcontrollers (MCU) OTP EPROM 8K SPI |
![]() Data Sheet |
![]() Negotiable |
|
||||
| Image | Part No | Mfg | Description | ![]() |
Pricing (USD) |
Quantity | ||||
![]() |
![]() ST72101 |
![]() Other |
![]() |
![]() Data Sheet |
![]() Negotiable |
|
||||
![]() |
![]() ST72101G1 |
![]() Other |
![]() |
![]() Data Sheet |
![]() Negotiable |
|
||||
![]() |
![]() ST72104G |
![]() Other |
![]() |
![]() Data Sheet |
![]() Negotiable |
|
||||
![]() |
![]() ST72104G1 |
![]() Other |
![]() |
![]() Data Sheet |
![]() Negotiable |
|
||||
![]() |
![]() ST72124J |
![]() Other |
![]() |
![]() Data Sheet |
![]() Negotiable |
|
||||
![]() |
![]() ST72141 |
![]() Other |
![]() |
![]() Data Sheet |
![]() Negotiable |
|
||||
(Hong Kong)










