Product Summary
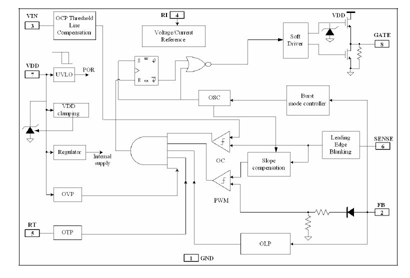
The OB2269CP is a highly integrated current mode PWM control IC optimized for high performance, low standby power and cost effective offline flyback converter applications in above 20W power level. PWM switching frequency at normal operation is externally programmable and trimmed to tight range. At no load or light load condition, the IC operates in extended burst mode to minimize switching loss. Lower standby power and higher conversion efficiency is thus achieved. The applications of the OB2269CP include: Laptop Power Adaptor, PC/TV/Set-Top Box Power Supplies, Open-frame SMPS, Battery Charger.
Parametrics
OB2269CP absolute maximim ratings: (1)VDD Input Voltage: 36 V; (2)VIN Input Voltage: 36 V; (3)VDD Clamp Continuous Current: 10 mA; (4)VFB Input Voltage: -0.3 to 7V; (5)VSENSE Input Voltage to Sense Pin: -0.3 to 7V; (6)VRT Input Voltage to RT Pin: -0.3 to 7V; (7)VRI Input Voltage to RI Pin: -0.3 to 7V; (8)Min/Max Operating Junction Temperature TJ: -20 to 150 ℃; (9)Min/Max Storage Temperature Tstg: -55 to 150 ℃.
Features
OB2269CP features: (1)Extended Burst Mode Control For Improved Efficiency and Minimum Standby Power Design; (2)Audio Noise Free Operation; (3)External Programmable PWM Switching Frequency; (4)Internal Synchronized Slope Compensation; (5)Low VIN/VDD Startup Current(4μA) and Low Operating Current (2.3mA); (6)Leading Edge Blanking on Current Sense Input; (7)Complete Protection Coverage With Auto Self-Recovery.
Diagrams

(Hong Kong)






