Product Summary
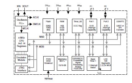
The MSP430FE427IPMR is a mixed signal microcontroller consists of several devices featuring different sets of peripherals targeted for various applications. The architecture, combined with five low-power modes is optimized to achieve extended battery life in portable measurement applications. The MSP430FE427IPMR features a powerful 16-bit RISC CPU, 16-bit registers, and constant generators that contribute to maximum code efficiency. The digitally controlled oscillator (DCO) allows wake-up from low-power modes to active mode in less than 6μs.
Parametrics
MSP430FE427IPMR absolute maximum ratings: (1)Voltage applied at VCC to VSS: -0.3 V to + 4.1 V; (2)Voltage applied to any pin: -0.3 V to VCC + 0.3 V; (3)Diode current at any device terminal: ±2 mA; (4)Storage temperature (unprogrammed device): -55℃ to 150℃; (5)Storage temperature (programmed device): -40℃ to 85℃.
Features
MSP430FE427IPMR features: (1)Low Supply Voltage Range, 2.7 V to 3.6 V; (2)Ultralow Power Consumption: Active Mode: 400 μA at 1 MHz, 3.0 V; Standby Mode: 1.6 μA; Off Mode (RAM Retention): 0.1 μA; (3)Five Power-Saving Modes; (4)Wake-Up From Standby Mode in Less Than 6 μs; (5)Frequency-Locked Loop, FLL+; (6)16-Bit RISC Architecture, 125-ns Instruction Cycle Time; (7)Embedded Signal Processing for Single-Phase Energy Metering With; (8)Integrated Analog Front-End and Temperature Sensor (ESP430CE1); (9)16-Bit Timer_A With Three Capture/Compare Registers; (10)Integrated LCD Driver for 128 Segments; (11)Serial Communication Interface (USART), Asynchronous UART or Synchronous SPI Selectable by Software; (12)Brownout Detector; (13)Supply Voltage Supervisor/Monitor With Programmable Level Detection; (14)Serial Onboard Programming, No External Programming Voltage Needed, Programmable Code Protection by Security Fuse; (15)Bootstrap Loader in Flash Devices; (16)Family Members Include: MSP430FE423: 8KB + 256B Flash Memory,; (17)256B RAM; MSP430FE425: 16KB + 256B Flash Memory, 512B RAM; MSP430FE427: 32KB + 256B Flash Memory, 1KB RAM; (18)Available in 64-Pin Quad Flat Pack (QFP); (19)For Complete Module Descriptions, Refer to the MSP430x4xx Family User’s Guide, Literature Number SLAU056.
Diagrams

| Image | Part No | Mfg | Description | ![]() |
Pricing (USD) |
Quantity | ||||||||
|---|---|---|---|---|---|---|---|---|---|---|---|---|---|---|
![]() |
![]() MSP430FE427IPMR |
![]() Texas Instruments |
![]() 16-bit Microcontrollers (MCU) 32KB Flash 1MB RAM for Energy Meters |
![]() Data Sheet |
![]()
|
|
||||||||
| Image | Part No | Mfg | Description | ![]() |
Pricing (USD) |
Quantity | ||||||||
![]() |
![]() MSP4120 |
![]() Other |
![]() |
![]() Data Sheet |
![]() Negotiable |
|
||||||||
![]() |
![]() MSP4200 |
![]() Other |
![]() |
![]() Data Sheet |
![]() Negotiable |
|
||||||||
![]() |
![]() MSP430×11× |
![]() Other |
![]() |
![]() Data Sheet |
![]() Negotiable |
|
||||||||
![]() |
![]() MSP430×11×2 |
![]() Other |
![]() |
![]() Data Sheet |
![]() Negotiable |
|
||||||||
![]() |
![]() MSP430×12×2 |
![]() Other |
![]() |
![]() Data Sheet |
![]() Negotiable |
|
||||||||
![]() |
![]() MSP430×21×1 |
![]() Other |
![]() |
![]() Data Sheet |
![]() Negotiable |
|
||||||||
(Hong Kong)










