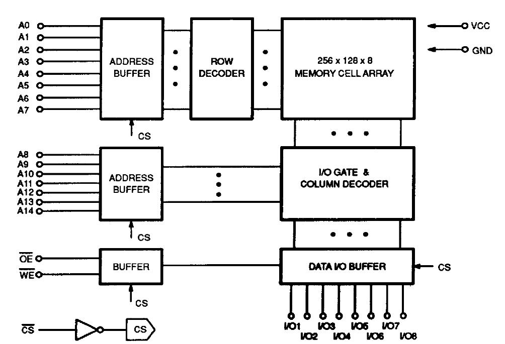
Product Summary
The MB84256C-70LL is a 32,768 word by 8-bit static random access memory fabricated with a CMOS silicon gate process. The memory utilizes asynchronous circuitry and may be maintained in any state for an indefinite period of time. All pins are TTL compatible, and a single +5V power supply is required. The MB84256C-70LL is ideally suited for use in microprocesser systems and other applications where fast access time and ease of use are required. The device offers the advantages of low power dissipation, low cost and high performance.
Parametrics
MB84256C-70LL absolute maximum ratings: (1)Supply voltage, VCC: -0.5 to 7V; (2)Input voltage, Vin: -0.5 to VCC+0.5V; (3)Output voltage, VI/O: -0.5 to VCC+0.5V; (4)Temperature under bias, Tbias: -10 to 85℃; (5)Storage temperature, Tstg: -40 to 125℃.
Features
MB84256C-70LL features: (1)Organization: 32,768×8bits; (2)Fast access time: 100ns max; (3)Completedly static operation: NO clock required; (4)TTL compatible inputs/outputs; (5)Three state outputs; (6)Single +5V power supply, ±10% tolerance; (7)Low power standby: CMOS level: 5.5mW max; TTL level: 16.5mW max; (8)Data retention: 2.0V min; (9)Standard 28-pin plastic package: DIP.
Diagrams

(Hong Kong)






