Product Summary
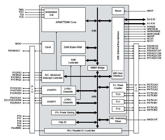
The AT91R40008-66AU is a 16/32-bit microcontroller, which is based on the ARM7TDMI processor core. This processor has a high-performance, 32-bit RISC architecture with a high-density, 16-bit instruction set and very low power consumption. Furthermore, the AT91R40008-66AU features 256K bytes of on-chip SRAM and a large number of internally banked registers, resulting in very fast exception handling, and making the device ideal for real-time control applications.
Parametrics
AT91R40008-66AU absolute maximum ratings: (1)2.7V to 3.6V I/O Operating Range; (2)1.65V to 1.95V Core Operating Range; (3)-40℃ to +85℃ Temperature Range.
Features
AT91R40008-66AU features: (1)Incorporates the ARM7TDMI ARM Thumb Processor Core; (2)8-, 16- and 32-bit Read and Write Support; (3)256K Bytes of On-chip SRAM; (4)Fully Programmable External Bus Interface (EBI); (5)Eight-level Priority, Individually Maskable, Vectored Interrupt Controller; (6)32 Programmable I/O Lines; (7)Three-channel 16-bit Timer/Counter; (8)Programmable Watchdog Timer.
Diagrams

| Image | Part No | Mfg | Description | ![]() |
Pricing (USD) |
Quantity | ||||||||||||
|---|---|---|---|---|---|---|---|---|---|---|---|---|---|---|---|---|---|---|
![]() |
![]() AT91R40008-66AU |
![]() Atmel |
![]() ARM Microcontrollers (MCU) LQFP IND TEMP |
![]() Data Sheet |
![]()
|
|
||||||||||||
![]() |
![]() AT91R40008-66AU-999 |
![]() Atmel |
![]() ARM Microcontrollers (MCU) Ind. Temp Green |
![]() Data Sheet |
![]()
|
|
||||||||||||
(Hong Kong)










