Product Summary
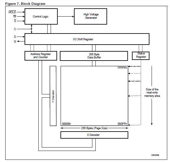
The M25P40VP is a 4 Mbit (512K x 8) Serial Flash Memory, with advanced write protection mechanisms, accessed by a high speed SPI-compatible bus.
Parametrics
M25P40VP absolute maximum ratings: (1)Storage Temperature: –65 to 150 ℃; (2)Input and Output Voltage (with respect to Ground): –0.6 to 4.0 V; (3)Supply Voltage: –0.6 to 4.0 V; (4)Electrostatic Discharge Voltage (Human Body model): –2000 to 2000 V.
Features
M25P40VP features: (1)4 Mbit of Flash Memory; (2)Page Program (up to 256 Bytes) in 1.5ms (typical); (3)Sector Erase (512 Kbit) in 1s (typical); (4)Bulk Erase (4 Mbit) in 4.5s (typical); (5)2.7 to 3.6V Single Supply Voltage; (6)SPI Bus Compatible Serial Interface; (7)40MHz Clock Rate (maximum); (8)Deep Power-down Mode 1μA (typical); (9)Electronic Signature (12h).
Diagrams

![]() |
![]() M25P01K9FC |
![]() JAE Electronics |
![]() Automotive Connectors Pin Contact MX25 |
![]() Data Sheet |
![]()
|
|
||||||||||||
![]() |
![]() M25P05 |
![]() Other |
![]() |
![]() Data Sheet |
![]() Negotiable |
|
||||||||||||
![]() |
![]() M25P05-A |
![]() Other |
![]() |
![]() Data Sheet |
![]() Negotiable |
|
||||||||||||
![]() |
![]() M25P05-AVDW6TP |
![]() STMicroelectronics |
![]() Flash 512 KB Lo Vltg Serial Flash memory |
![]() Data Sheet |
![]() Negotiable |
|
||||||||||||
![]() |
![]() M25P05-AVMB6TP |
![]() |
![]() IC SRL FLASH 512KBIT 3V 8UFDFPN |
![]() Data Sheet |
![]() Negotiable |
|
||||||||||||
![]() |
![]() M25P05-AVMN6 |
![]() STMicroelectronics |
![]() Flash 3.0V 512K (64Kx8) |
![]() Data Sheet |
![]() Negotiable |
|
||||||||||||
(Hong Kong)









