Product Summary
The FAC2596 is an adjustable step-down (buck) switch-mode voltage regulator. The device is available in fixed output voltage of 3.3V, 5V, and an adjustable output version. Both versions are capable of driving a 3A load with excellent line and load regulation. Requiring a minimum number of external components, the FAC2596 is simple to use and include internal frequency compensation, and a fixed-frequency oscillator. The applications of the FAC2596 include Simple High-efficiency step-down regulator, On-card switching regulators, Positive to negative converter, LCD monitor and LCD TV, DVD recorder and PDP TV, Battery charger, Step-down to 3.3V for microprocessors.
Parametrics
FAC2596 absolute maximum ratings: (1)Supply Voltage Vin: -0.3 to 45 V; (2)Feedback VFB pin voltage: -0.3 to Vin+0.3 V; (3)ON/OFF Pin voltage: -0.3 to Vin+0.3 V; (4)Output pin voltage: -0.3 to Vin+0.3 V; (5)Output Voltage to Ground (Steady State): -1 V; (6)Power Dissipation Internally: limited W; (7)Operating Temperature Range: -40 to +125℃; (8)Storage Temperature: -65 to +150℃; (9)Lead Temperature (Sol dering, 10 sec): 200℃; (10)ESD(HM): 2000 V; (11)Thermal Resistance-Junction to Ambient(RθJA): 85 ℃/W; (12)Thermal Resistance-Junction to Case(RθJC): 45 ℃/W.
Features
FAC2596 features: (1)3.3V, 5V and adjustable output versions; (2)Output adjustable from 1.23v to 43V; (3)Fixed 150KHz frequency internal oscillator; (4)Guaranteed 3A output load current; (5)Input voltage range up to 45V; (6)Low power standby mode, IQ typically 80μA; (7)TTL shutdown capability; (8)Excellent line and load regulation; (9)Requires only 4 external components; (10)High efficiency; (11)Thermal shutdown and current limit protection; (12)Available in TO-220B/TO220 and TO-263 packages.
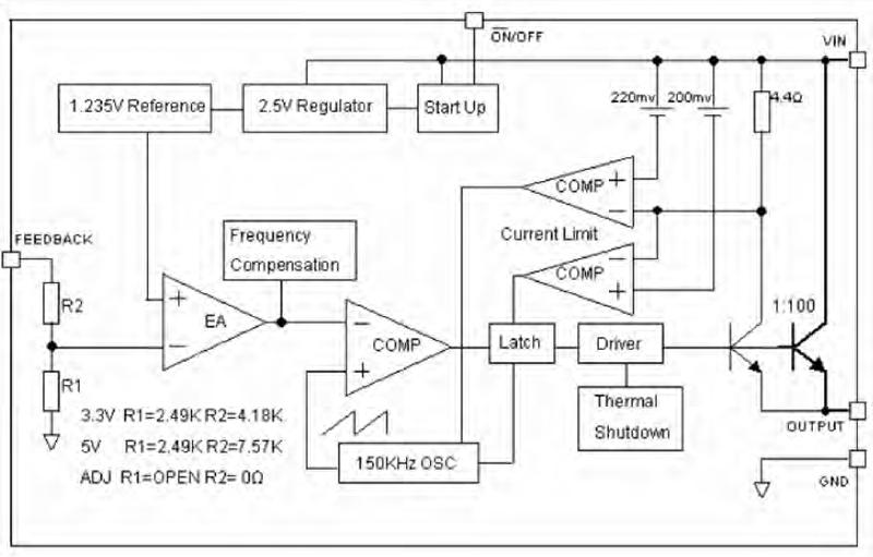
Diagrams

(Hong Kong)






