Product Summary
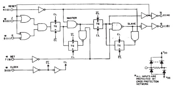
The CD4027BE is a single monolithic chip integrated circuit containing two identical complementary-symmetry J-K masterslave flip-flops. It is suitable for registers, counters and control circuits.
Parametrics
Absolute maximum ratings: (1)input voltage range, all inputs: -0.5V to VDD+0.5V; (2)DC input current, any one input: ±10mA; (3)operating-temperature range (TA): -55℃ to +125℃; (4)storage temperature range (Tstg): -65℃ to +150℃.
Features
Features: (1)set-reset capability; (2)static flip-flop operation; (3)medium speed operation; (4)standardized symmetrical output characteristics; (5)100% tested for quiescent current at 20V; (6)maximum input current of 1μA at 18V over full package temperature range; 100nA at 18V and 25℃.
Diagrams

| Image | Part No | Mfg | Description | ![]() |
Pricing (USD) |
Quantity | ||||||||||||
|---|---|---|---|---|---|---|---|---|---|---|---|---|---|---|---|---|---|---|
![]() |
![]() CD4027BE |
![]() Texas Instruments |
![]() Flip Flops Dual Master/Slave |
![]() Data Sheet |
![]()
|
|
||||||||||||
![]() |
![]() CD4027BEE4 |
![]() Texas Instruments |
![]() Flip Flops Dual Master/Slave |
![]() Data Sheet |
![]()
|
|
||||||||||||
(Hong Kong)









